Remove the cover from the power distribution center pdc. Dodge ram 1500.
Intelligent Power Power Distribution Center
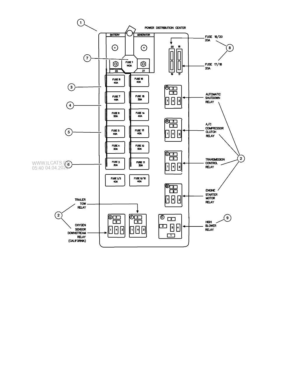
Power distribution center dodge ram. Parts fit for the following vehicle options. Parts like power distribution center fuses relays are shipped directly from authorized mopar dealers and backed by the manufacturers warranty. Parts fit for the following vehicle options. Dodge oem ram 2500 power distribution center fuse block junction block relays and fuses spare parts from thunder cdjr. The pdc is located on the left drivers side of the engine compartment next to the battery figure 1. Find parts for your automobile.
This repair applies to 2013 2014 2015 2016 2017 2018 and 2019 1500 2500 and 3500 models. 31 results for power distribution center dodge ram save this search. 6 cyl 59l diesel 8 cyl 57l. Parts fit for the following vehicle options. Fuel pump relay issues. Parts like power distribution center fuses relays are shipped directly from authorized mopar dealers and backed by the manufacturers warranty.
We are your source for factory dodge parts when it comes time to repair maintain or upgrade your dodge ram 2500 choose factory chrysler parts for the best selection of dodge parts at discount prices. Sponsored 2008 dodge ram 1500 power distribution center fuse box relay p68028002ab oem fits. Common failure symptoms this repair service resolves includes. 10 cyl 80l 6 cyl 59l diesel 8 cyl 57l. 6 cyl 59l diesel 6 cyl 67l diesel 8 cyl 57l. 10 cyl 83l 6 cyl 37l 8 cyl 47l 8 cyl 57l.
Parts fit for the following vehicle options. Parts like power distribution center fuses relays are shipped directly from authorized mopar dealers and backed by the manufacturers warranty. Parts fit for the following vehicle options. I am fixing my dodge ram 1500 year 1998 and am trying to install a new power distribution center since its a new one i answered by a verified dodge mechanic we use cookies to give you the best possible experience on our website. Parts like power distribution center relay fuses are shipped directly from authorized mopar dealers and backed by the manufacturers warranty. Parts like power distribution center fuses relays are shipped directly from authorized mopar dealers and backed by the manufacturers warranty.
This is a repair service for a 2013 through 2019 dodge ram power distribution centermodule repair. 10 cyl 83l 6 cyl 37l 8 cyl 47l 8 cyl 57l. Items in search results.

















